新聞中心

工程拖鏈的制作方法

本實用新型涉及拖鏈領域,具體而言,涉及一種工程拖鏈。該工程拖鏈,包括多個拖鏈單元,拖鏈單元上設有扣板;底板上設有兩塊相對設置且相互平行的立板,立板的一端設有卡接部,另一端設有卡槽,相鄰的拖鏈單元之間卡接部與卡槽卡接連接,卡槽上設有圓孔,卡接部上設有用于圓孔的圓柱;扣板包括橫板,橫板的兩端設有扣接部,立板上設有與扣接部連接的扣槽,延伸板的端部設于相鄰拖鏈單元的卡接部之間。本實用新型提供的該工程拖鏈扣板的延伸板的端部處在相鄰的拖鏈元件的卡接部之間,即,延伸部的端部能夠支撐卡接部,拖鏈在工作狀態下,延伸板其支點的作用,能夠避免拖鏈出現松動的現象,從而避免斷裂,使拖鏈的使用壽命更長。

技術領域
[0001]本實用新型涉及拖鏈領域,具體而言,涉及一種工程拖鏈。

背景技術
[0002]拖鏈一般用于運動重復的機械和結構,主要是能對內置的電纜、油管、氣管、水管等起到相當重要的防護作用,廣泛應用于數控機床、電子設備、石材機械、玻璃機械、門窗機械、注塑機、機械手、超重運輸設備、自動化倉庫等各行各業。
[0003]每條拖鏈由多個單元連接組成,連接之間轉動自如,目前,常用的拖鏈的扣板連接節卡接在各單元上,扣板連接節僅僅起到封擋拖鏈內部件的作用。在拖鏈的運行中,高速旋轉的拖鏈,由于載荷的作用下會產生疲勞,會出現松動、擺動的現象,以至于拖鏈斷裂,使用壽命較短。
實用新型內容
[0004]本實用新型的目的在于提供一種工程拖鏈,以解決上述的問題。
[0005]在本實用新型的實施例中提供了一種工程拖鏈,包括多個拖鏈單元,所述拖鏈單元上設有扣板;
[0006]所述拖鏈單元包括底板,所述底板上設有兩塊相對設置且相互平行的立板,所述扣板設于兩塊所述立板遠離所述底板的一側,所述立板的一端設有卡接部,另一端設有卡槽,相鄰的所述拖鏈單元之間所述卡接部與所述卡槽卡接連接,所述卡槽上設有圓孔,所述卡接部上設有用于所述圓孔的圓柱,所述卡槽可沿所述卡接部以所述圓柱為中心旋轉;
[0007]所述扣板包括橫板,所述橫板的兩端設有扣接部,所述立板上設有與所述扣接部連接的扣槽,所述橫板設于兩塊所述立板之間,所述橫板上設有向相鄰所述拖鏈單元的所述卡接部方向延伸的延伸板,所述延伸板的端部設于相鄰所述拖鏈單元的所述卡接部之間。
[0008]進一步的,所述橫板一端的扣接部包括卡鉤,另一端的扣接部包括連接槽,所述連接槽上設有卡口,所述立板上的扣槽為與卡鉤連接的卡條及與所述連接槽連接的連接柱。
[0009]進一步的,還包括兩個端部拖鏈單元分別為第一端部拖鏈單元和第二端部拖鏈單元,所述第一端部拖鏈單元上設有用于與所述拖鏈單元的卡接部連接的卡槽,所述第二端部拖鏈單元上設有用于與所述拖鏈單元的卡槽連接的卡接部。
[0010]進一步的,兩塊所述立板等長。
[0011 ] 進一步的,所述拖鏈單元及所述扣板上包裹有防護層。
[0012]本實用新型實施例提供的一種工程拖鏈,扣板的延伸板的端部處在相鄰的拖鏈元件的卡接部之間,即,延伸部的端部能夠支撐卡接部,拖鏈在工作狀態下,延伸板其支點的作用,能夠避免拖鏈出現松動的現象,從而避免斷裂,使拖鏈的使用壽命更長。

專利附圖
附圖說明
[0013]圖1示出了本實用新型實施例所述的一種工程拖鏈的結構示意圖;
[0014]圖2示出了本實用新型實施例所述的一種工程拖鏈的拖鏈單元的結構示意圖;
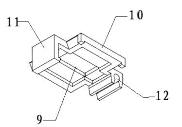
[0015]圖3示出了本實用新型實施例所述的一種工程拖鏈的扣板的結構示意圖;
[0016]圖4示出了本實用新型實施例所述的一種工程拖鏈的扣板的主視圖;
[0017]圖5示出了本實用新型實施例所述的一種工程拖鏈的第一端部拖鏈單元的結構示意圖;
[0018]圖6示出了本實用新型實施例所述的一種工程拖鏈的第二端部拖鏈單元的結構示意圖。
[0019]圖中:
[0020]1、拖鏈單元;2、扣板;3、底板;4、立板;5、卡接部;6、卡槽;7、圓孔;8、圓柱;9、橫板;10、延伸板;11、卡鉤;12、連接槽;13、第一端部拖鏈單元;14、第二端部拖鏈單元。

具體實施方式
[0021]下面通過具體的實施例子并結合附圖對本實用新型做進一步的詳細描述。
[0022]如圖1-6所示,一種工程拖鏈,包括多個拖鏈單元1,拖鏈單元I上設有扣板2 ;
[0023]拖鏈單元I包括底板3,底板3上設有兩塊相對設置且相互平行的立板4,扣板2設于兩塊立板4遠離底板3的一側,立板4的一端設有卡接部5,另一端設有卡槽6,相鄰的拖鏈單元I之間卡接部5與卡槽6卡接連接,卡槽上設有圓孔7,卡接部5上設有用于圓孔7的圓柱8,卡槽6可沿卡接部5以圓柱8為中心旋轉;
[0024]扣板2包括橫板9,橫板9的兩端設有扣接部,立板4上設有與扣接部連接的扣槽,橫板9設于兩塊立板4之間,橫板9上設有向相鄰拖鏈單兀I的卡接部5方向延伸的延伸板10,延伸板10的端部設于相鄰拖鏈單元I的卡接部5之間。
[0025]橫板9 一端的扣接部包括卡鉤11,另一端的扣接部包括連接槽12,連接槽12上設有卡口,立板4上的扣槽為與卡鉤11連接的卡條及與連接槽12連接的連接柱。采用卡鉤11及連接槽12配合連接的方式使扣板2與拖鏈單元I連接,不僅連接的更加牢固,而且方便拆裝,方便實用。
[0026]該工程拖鏈還包括兩個端部拖鏈單元I分別為第一端部拖鏈單元13和第二端部拖鏈單元14,第一端部拖鏈單元13上設有用于與拖鏈單元I的卡接部5連接的卡槽6,第二端部拖鏈單元14上設有用于與拖鏈單元I的卡槽6連接的卡接部5。其中,端部拖鏈單元I與拖鏈單元I的連接原理相同,第一端部拖鏈單元13和第二端部拖鏈單元14與拖鏈單元I能夠實現自由轉動。
[0027]兩塊立板4等長。兩塊立板4的高度、長度均相同,便于扣板2的連接,同時,也便于拖鏈單元I之間的連接與拆卸,便于維護、維修。
[0028]拖鏈單元I及扣板2上包裹有防護層。防護層為漆層或保護膜,防止拖鏈單元I和扣板2由于長時間使用被腐蝕,影響正常使用。
[0029]上述實施例提供的一種工程拖鏈,扣板2的延伸板10的端部處在相鄰的拖鏈元件的卡接部5之間,S卩,延伸部的端部能夠支撐卡接部5,拖鏈在工作狀態下,延伸板10其支點的作用,能夠避免拖鏈出現松動的現象,從而避免斷裂,使拖鏈的使用壽命更長。
[0030]以上所述僅為本實用新型的優選實施例而已,并不用于限制本實用新型,對于本領域的技術人員來說,本實用新型可以有各種更改和變化。凡在本實用新型的精神和原則之內,所作的任何修改、等同替換、改進等,均應包含在本實用新型的保護范圍之內。
權利要求
1.一種工程拖鏈,其特征在于,包括多個拖鏈單元,所述拖鏈單元上設有扣板; 所述拖鏈單元包括底板,所述底板上設有兩塊相對設置且相互平行的立板,所述扣板設于兩塊所述立板遠離所述底板的一側,所述立板的一端設有卡接部,另一端設有卡槽,相鄰的所述拖鏈單元之間所述卡接部與所述卡槽卡接連接,所述卡槽上設有圓孔,所述卡接部上設有用于所述圓孔的圓柱,所述卡槽可沿所述卡接部以所述圓柱為中心旋轉; 所述扣板包括橫板,所述橫板的兩端設有扣接部,所述立板上設有與所述扣接部連接的扣槽,所述橫板設于兩塊所述立板之間,所述橫板上設有向相鄰所述拖鏈單元的所述卡接部方向延伸的延伸板,所述延伸板的端部設于相鄰所述拖鏈單元的所述卡接部之間。
2.根據權利要求1所述的工程拖鏈,其特征在于,所述橫板一端的扣接部包括卡鉤,另一端的扣接部包括連接槽,所述連接槽上設有卡口,所述立板上的扣槽為與卡鉤連接的卡條及與所述卡槽連接的連接柱。
3.根據權利要求1所述的工程拖鏈,其特征在于,還包括兩個端部拖鏈單元分別為第一端部拖鏈單元和第二端部拖鏈單元,所述第一端部拖鏈單元上設有用于與所述拖鏈單元的卡接部連接的卡槽,所述第二端部拖鏈單元上設有用于與所述拖鏈單元的卡槽連接的卡接部。
4.根據權利要求1所述的工程拖鏈,其特征在于,兩塊所述立板等長。
5.根據權利要求1所述的工程拖鏈,其特征在于,所述拖鏈單元及所述扣板上包裹有防護層。

欄目導航

聯系我們

CONTACT US

聯系人:朱先生

手機:13382237770

電話:0510-83585358

郵箱:162008558@qq.com

地址: 無錫市惠山區惠山大道9號金福隆拖鏈

?